コラム
製品情報
床吹出口
天井吹出口
工場・大空間用置換換気
チルドビーム・
天井冷放射パネル
一般ビル用
置換換気
壁・蹴上げ
吹出口
床放射
スマートフィルム
納入実績
FAQ
ニュース
お見積り・お問い合わせ
サイト内検索
アクティブチルドビーム(風向切替用)
〈DK-LIO-TV〉
空調関連製品TOP
チルドビーム・天井冷輻射パネル
アクティブチルドビーム(風向切替用)〈DK-LIO-TV〉
製品詳細
製品概要
製品詳細
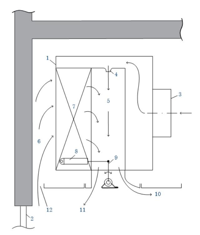
構造
能力
この製品のお見積り・お問い合わせ
製品概要
製品詳細
床吹出口
天井吹出口
壁・蹴上げ
吹出口
一般ビル用
置換換気
工場用
置換換気
チルドビーム・
天井冷輻射パネル
空調関連製品TOPへ戻る